ATF(CVT)オイルゲート
(油温計取出しブロック)オートマの状態を把握する
オートマ車は、過酷な運転をするとATフルード(オートマオイル)の油温が上昇して、オイル粘度が低下し、AT内部のディスクなどに負担がかかって加速がにぶくなったり、シフトアップポイントが変わってしまったり、キックダウンにタイムラグがでたりします。このアダプターを使うことによって、油温計、油圧計が装着でき、走行中のATフルードの状態を把握できます。通常90゜~100゜、高速走行110゜、全開を繰り返す走行は130゜~150゜にもなる場合があるATフルード。現状を把握して必要によってはオートマクーラーを付けるのはいかがでしょうか。ATフルードを取り替える目安にもなります。
サーキットテスト&検証
ATFは通常ポンプでラジエターを循環して冷却されています。しかし、ON.OFFを繰り返すサーキットのようなところではATFの油温が上昇してラジエターの温度を引き上げてしまいます。日光サーキットでJZS147のアリストでテストしたところ、オーバーヒートの連続でした。これはATFの温度が上昇してラジエターの温度を引き上げてしまったのが原因です。対策としてATクーラーを取付して再度走行しました。ラジエター経由で冷却している時にはクールダウンしても全然油温、水温ともにいっこうに下がる気配がありません。オイルの特性上かいったん上がるとなかなか下がりにくいみたいです。しかし、ラジエターはラジエター、ATFはATFと独立させて配管しクールダウン運転をすると油温、水温共にすぐに低下し安定します。オイルはいくらよいものを使っていても150゜近い温度近くになればやっぱりよくないでしょう。街中や高速道路でも同じような現象になっている方もきっとたくさんおられると思います。高速なんかとばす方!!気になりませんか?

¥9.800
材質:A5052P 表面処理:アルマイト処理(ブルー)
対応車輌:ATFラインホースがφ10(内径)の車輌対象
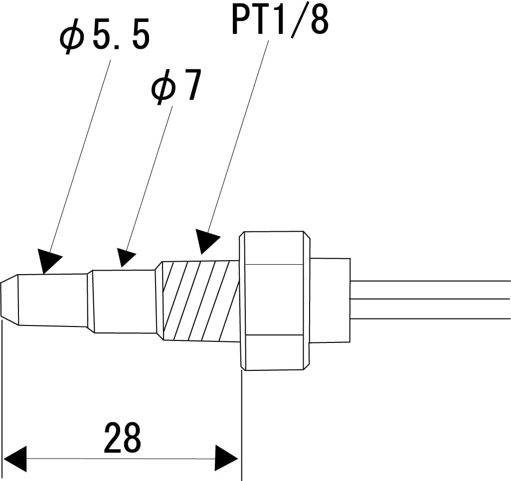
対応センサー:PT1/8のみ対応(油温・油圧)
対応車輌:ATFラインホースがφ10(内径)の車輌対象
対応センサー:PT1/8のみ対応(油温・油圧)
